
IT之家 6 月 25 日消息,科技媒体 xpertpick 昨日(6 月 24 日)发布博文,报道称三星获批一项专利,描述了互动性更强的智能手表设计方面。
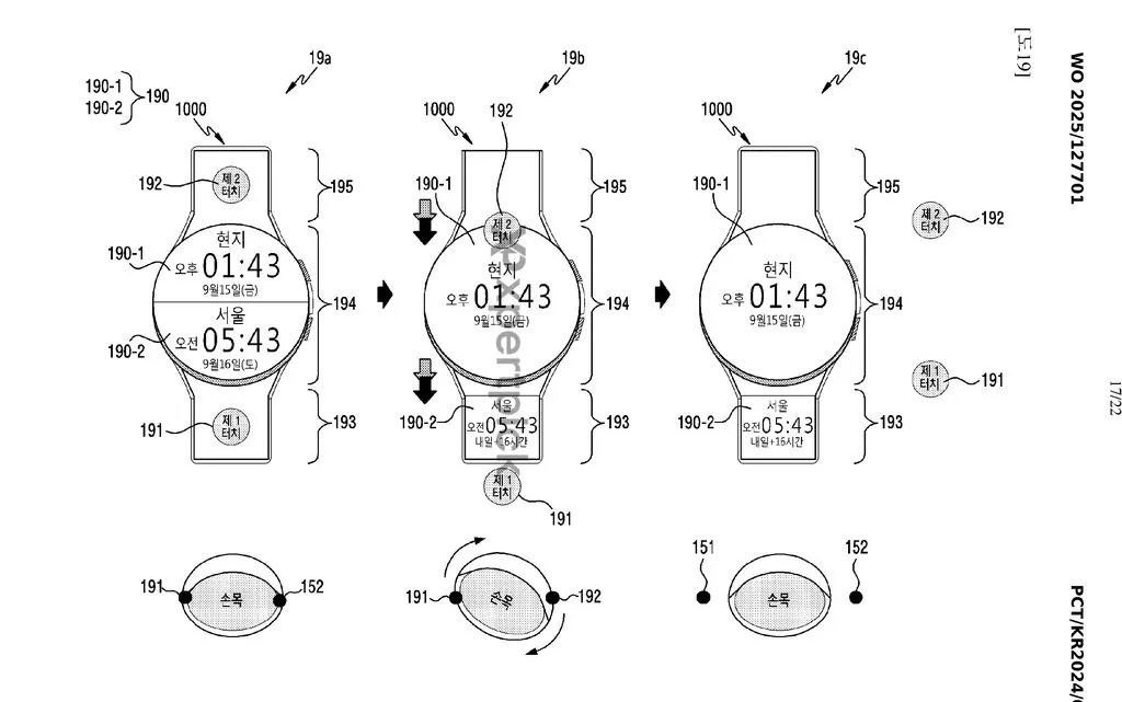
根据世界知识产权组织(WIPO)公示的专利,三星智能手表的表带部分,具有显示屏或触摸敏感区域。这些区域可能用于扩展用户界面元素、提供额外的控制,或者实现跨表盘和表带的触摸手势。
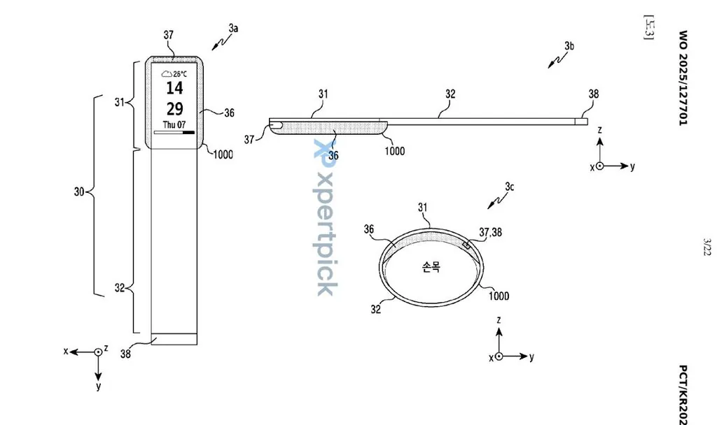
另一个有趣的细节是,手表界面似乎可以根据手腕的方向自动调整。在一些图片中,显示元素会根据用户的手腕位置旋转或移动,意味着手表界面可能会自动适应用户的手腕姿势,以便在不同的位置更容易阅读或与内容交互。
图表还暗示了手势识别的存在。有箭头和注释表示手和手腕的运动,以及手指手势,这表明设备可能支持通过动作或触摸手势进行控制。IT之家附上相关图片如下:
牛米网配资提示:文章来自网络,不代表本站观点。